云南省建水县住房和城乡建设局100辆纯电动公交车及其相关设施招标公告
1、招标条件
项目概况:本项目为世行贷款云南省红河州滇南中心城市交通项目建水县子项目-建水县采购100辆纯电动公交车及其相关设施采购
资金到位或资金来源落实情况:本项目由世界银行贷款,为货物合同,由世界银行100%支付货款。
项目已具备招标条件的说明:本合同招标文件已于2020年9月11日获得世界银行的不反对意见。
2、招标内容
招标项目编号:0703-2010CIC5Y068
招标项目名称:世行贷款云南省红河州滇南中心城市交通项目建水县子项目-建水县采购100辆纯电动公交车及其相关设施采购国际竞争性招标
项目实施地点:中国云南省
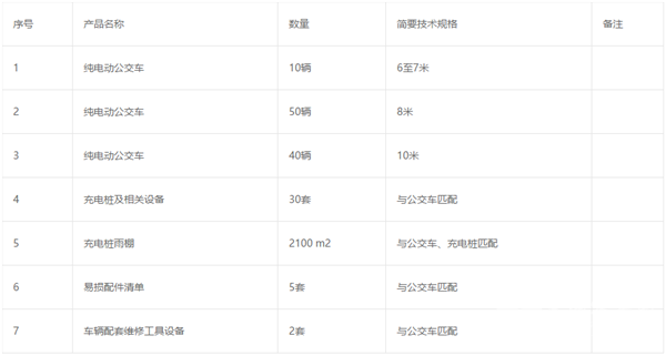
招标产品列表(主要设备): 
3、投标人资格要求
投标人应具备的资格或业绩:(a) 财务能力
投标人应该提交有关文件,证明其满足了下列财务要求:
(1) 近三年(2017-2019)经审计的年度财务报告(审计报告、资产负债表、损益表、现金流量表),或者如果投标人所在国的法律没有要求,其他买方接受的财务报表,以反映投标人当前财务状况的稳定性和长期盈利能力;作为最低要求,投标人近三年(2017-2019)的净资产(按总资产和总负债之差计算)均应为正值。
(2) 投标人近三年(2017-2019)的年均营业额不少于人民币1.67亿元或美元2400万元;
(3) 投标人可利用的营运资本、授信额度和其他财务资源,能够满足本合同所需要的现金流不少于人民币2600万元或美元370万元和其他正在履行的合同所需要的现金流。
(b) 经验和技术能力
投标人应该提交有关文件,证明其满足了下列经验要求:
(1) 投标人近3年内(2017年1月至投标截止时间前)至少成功完成过2个纯电动公交车的供货合同,每个合同金额不少于人民币5400万元或其他等值的货币金额。投标人应在投标文件中提供中标合同(含详细的货物清单及合同金额)、买方出具的验收报告以及买方的联系方式供评审。
(2) 车辆制造商拥有3年以上电动公交车生产经验和10年以上公交车生产经验。
(3) 车辆制造商近3年内(2017、2018、2019年)年均至少销售5.9米及以上纯电动公交车2000台。国内制造商的销售数量以中国汽车工业协会出具的销量查询结果为准,国外制造商以销售合同为准,满足同等销量要求。
(4) 本次投标的所有规格的纯电动公交车必须为同一品牌。
是否接受联合体投标:不接受
未领购招标文件是否可以参加投标:不可以
4、招标文件的获取
招标文件领购开始时间:2020-09-15
招标文件领购结束时间:2020-11-04
是否在线售卖标书:否
获取招标文件方式:现场领购
招标文件领购地点:北京市丰台区西三环中路90号通用技术大厦1501
招标文件售价:¥2000/$300
其他说明:如需邮购,国内投标人需另加100元邮寄费用,国外投标人需另加50美元邮寄费用。开户行:交通银行北京阜外支行,开户名称:中仪国际招标有限公司,帐号:110060239018002343611。对于在邮寄过程中出现的任何文件丢失、破损,采购代理不承担任何责任。
5、投标文件的递交
投标截止时间(开标时间):2020-11-05 09:00
投标文件送达地点:云南省公共资源交易中心开标厅(云南省昆明市高新开发区科发路269号)
开标地点:云南省公共资源交易中心开标厅(云南省昆明市高新开发区科发路269号)
6、投标人在投标前应在必联网(https://www.ebnew.com)或机电产品招标投标电子交易平台(https://www.chinabidding.com)完成注册及信息核验。评标结果将在必联网和中国国际招标网公示。
7、联系方式
招标人:建水县住房和城乡建设局
地址:云南省红河州建水县仁和路33号
联系人:马女士
联系方式:0873-7623766
招标代理机构:中仪国际招标有限公司
地址:北京市丰台区西四环南路101号(园区)
联系人:陈滔
联系方式:010-63348524
8、汇款方式:
招标代理机构开户银行(人民币):交通银行北京阜外支行
招标代理机构开户银行(美元):交通银行北京阜外支行
账号(人民币):110060239018002343611
账号(美元):110060239018002343611
其他:开户名称:中仪国际招标有限公司
- 滨州公共汽车有限公司2025年新能源纯电动公交车采购中标结果公告
- 中标4.6个亿!沈阳客运集团发布659辆新能源公交车采购中标公告
- 沈阳客运集团有限公司2025年度新能源车辆更新采购项目中标结果公示
- 仁怀市公共交通服务有限公司城市公交车辆采购项目标包2 中标结果公示
- 仁怀市公共交通服务有限公司城市公交车辆采购项目标包1 中标结果公示
- 超4.8个亿!广州巴士集团发布450辆氢燃料客车采购中标公告
- 广州巴士集团有限公司450辆8.5米氢燃料电池城市客车采购项目成交公告
- 攀枝花市公交发布120辆新能源公交车采购中标公告
- 攀枝花市城市公交车采购标段一(第二次) 中标候选人公示
- 攀枝花市城市公交车采购标段二(第二次) 中标候选人公示
- 玉溪市公共汽车服务公司一级踏步纯电动公交车采购项目招标公告
- 中标近1个亿!怀化公交集团发布136辆新能源公交车采购中标公告
- 凤阳县城市公交新能源公交车采购项目(一标包)二次中标结果公告
- 20辆10.5米纯电动公交车公开选取招标代理机构的询比公告
- 潍坊市公共交通集团32台6米纯电动公交车采购项目标段二中标公告
- 攀枝花市城市公交车采购标段三(第二次) 中标候选人公示
- 攀枝花市公交发布120辆新能源公交车采购招标公告
- 攀枝花市城市公交车采购标段三(第二次)招标公告
- 攀枝花市城市公交车采购标段二(第二次)招标公告
- 攀枝花市城市公交车采购标段一(第二次)招标公告
1、凡本网注明“来源:www.beltsegypt.com” 的所有作品,版权均属于完美作业网有免费视频,未经本网授权,任何单位及个人不得转载、摘编或以其它方式使用上述作品。已经本网授权使用作品的,应在授权范围内使用,并注明“来源:www.beltsegypt.com”。违反上述声明者,本网将追究其相关法律责任。
2、凡本网注明 “来源:XXX(非完美作业网有免费视频)” 的作品,均转载自其它媒体,转载目的在于传递更多信息,并不代表本网赞同其观点和对其真实性负责。
3、如因作品内容、版权和其它问题需要同本网联系的,请在30日内进行。
※ 有关作品版权事宜请联系:copyright#chinabuses.com
- 圆满收官!第十四届上海国际客车展精彩回顾看这里~[12-19]
- 聚焦智慧交通创新!通达电气携全链条软硬件产品闪耀上海客车展[12-19]
- 随比亚迪驰骋全球十余国 森鹏电子获评 2025 优秀供应商[12-19]
- 无忧服务获信赖!苏州金龙荣膺“杰出表现品牌”[12-19]
- 破解文旅运输两大命题 金旅客车闪耀大会[12-19]
- 聚焦绿色 行业合力 2025绿色交通发展系列论坛在上海圆满举办[12-19]
- 睿享公交 共赢未来 东风德纳EP12Max“能效王”电驱桥隆重发布[12-19]
- 开沃集团四度携手思远盛大 保障全运 共赴新程[12-19]