浅谈客车行李舱门的密封结构
发布时间:2008年05月03日 00:00 作者:赵其洋 来源:江苏扬州亚星-奔驰有限公司
随着我国国民经济的高速发展,公路客运也得到快速提升,同时市场对公路客车的要求也越来越高。各客车生产厂家为了适应市场需求,都倾心增加或加大客车地板下的行李舱。但由于行李舱的密封性较差,引起漏水、漏灰现象,影响了客车的整体质量。针对此类问题,我们着重从设计结构、工艺方案、生产制作等方面分析一些典型行李舱的密封结构,有助于解决行李舱的漏水、漏灰现象。
1、行李舱门的密封结构
客车行李舱主要由行李舱体和舱门两部分组成。而漏水、漏灰问题主要表现在舱门部分,所以行李舱门的密封性及安装结构的好坏直接影响到漏水、漏灰情况。
密封结构:有止口的密封结构及无止口的密封结构
1.1 有止口的密封结构
将止口安装在舱体骨架上,在止口上安装橡胶密封胶条,通过门板对胶条压合形成密封。
1.1.1 带流水槽的密封结构
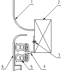
舱门上端带流水槽的密封结构如图1所示。通过型材成型,将止口及流水槽制作成一整体,将型材铆接在侧围骨架上,分别在流水槽及止口上安装双泡带飞边的密封胶条(该胶条弹性好,而且与门板贴合度高)。由示意图可以看出,该结构采取了三道防水措施:首先是导水槽将侧围蒙皮(侧围蒙皮将水引流到导水槽中)流淌下来的水以及从侧面缝隙打进来的水向两端疏导;其次是导水槽上的密封胶条受门板压合来形成密封;第三道是止口上的密封胶条受门板的压合而形成密封。
1.2.2 带抛水型材及流水槽的密封结构
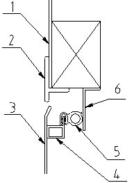
图2所示的为带抛水型材及流水槽的密封结构。首先在侧围蒙皮下沿安装装饰型材,型材的下边凸出,起抛水,挡水的作用;其次在舱门骨架(型材)上增设流水槽,对流进来的水向两端进行疏导,排出;最后通过舱门上的密封胶条与密封板的压合来形成密封。
1.1.3 采用"Ω"型止口的密封结构
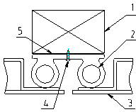
舱门左右侧立柱上采用"Ω"型止口的密封结构如图3所示。将相邻舱门的密封止口通过模具成型,安装(焊接或铆接)在舱门立柱的外表面,分别在止口上安装双泡带飞边的密封胶条。该结构的止口强度高,安装方便,同时避免止口在舱门的多次开启后容易产生变形的不足。
1.2 无止口的密封结构
1.2.1 胶条粘贴在舱体骨架上的密封结构
图4、5所示的是一无止口的舱门密封结构,直接在舱体骨架上粘贴橡胶密封胶条,通过门板对胶条的压合形成密封。安装工艺简单,工人操作方便,减轻工人劳动强度;同时节约材料成本、工人工时成本费用。且避免了止口在舱门多次开启后易产生变形的缺点。
1、行李舱门的密封结构
客车行李舱主要由行李舱体和舱门两部分组成。而漏水、漏灰问题主要表现在舱门部分,所以行李舱门的密封性及安装结构的好坏直接影响到漏水、漏灰情况。
密封结构:有止口的密封结构及无止口的密封结构
1.1 有止口的密封结构
将止口安装在舱体骨架上,在止口上安装橡胶密封胶条,通过门板对胶条压合形成密封。
1.1.1 带流水槽的密封结构
舱门上端带流水槽的密封结构如图1所示。通过型材成型,将止口及流水槽制作成一整体,将型材铆接在侧围骨架上,分别在流水槽及止口上安装双泡带飞边的密封胶条(该胶条弹性好,而且与门板贴合度高)。由示意图可以看出,该结构采取了三道防水措施:首先是导水槽将侧围蒙皮(侧围蒙皮将水引流到导水槽中)流淌下来的水以及从侧面缝隙打进来的水向两端疏导;其次是导水槽上的密封胶条受门板压合来形成密封;第三道是止口上的密封胶条受门板的压合而形成密封。
![]() |
|
1-侧围蒙皮;2-侧围骨架;3-铆钉;4-型材;5-密封胶条;6-行李舱门
图1 带流水槽的密封结构 |
1.2.2 带抛水型材及流水槽的密封结构
图2所示的为带抛水型材及流水槽的密封结构。首先在侧围蒙皮下沿安装装饰型材,型材的下边凸出,起抛水,挡水的作用;其次在舱门骨架(型材)上增设流水槽,对流进来的水向两端进行疏导,排出;最后通过舱门上的密封胶条与密封板的压合来形成密封。
![]() |
|
1-侧围蒙皮;2-装饰型材;3-行李舱门;4-舱门骨架(型材);5-密封胶条(单泡+飞边);6-密封板
图2 带排水型材及流水槽的密封结构 |
1.1.3 采用"Ω"型止口的密封结构
舱门左右侧立柱上采用"Ω"型止口的密封结构如图3所示。将相邻舱门的密封止口通过模具成型,安装(焊接或铆接)在舱门立柱的外表面,分别在止口上安装双泡带飞边的密封胶条。该结构的止口强度高,安装方便,同时避免止口在舱门的多次开启后容易产生变形的不足。
![]() |
|
1-舱门立柱;2-"Ω"型止口;3-密封胶条(双泡+飞边);4-舱门
图3采用"Ω"型止口的密封结构 |
1.2 无止口的密封结构
1.2.1 胶条粘贴在舱体骨架上的密封结构
图4、5所示的是一无止口的舱门密封结构,直接在舱体骨架上粘贴橡胶密封胶条,通过门板对胶条的压合形成密封。安装工艺简单,工人操作方便,减轻工人劳动强度;同时节约材料成本、工人工时成本费用。且避免了止口在舱门多次开启后易产生变形的缺点。
![]() |
|
1-舱门立柱;2-密封胶条;3-舱门;4-自攻螺钉;5-粘接胶
图4 无止口的密封结构 |
![]() |
|
1-舱门立柱;2-双面胶;3-舱门;4-密封胶条
图5 无止口的密封结构 |
1.2.2 带抛水胶条的密封结构
在侧围蒙皮下端面上粘贴抛水胶条的密封结构如图6所示。在门板上沿与侧围蒙皮下沿之间有一道明缝,在图示部位粘贴胶条,不仅起到抛水作用,而且美化缝隙。该结构有三道防水措施,首先抛水胶条将侧围蒙皮流淌下来的水向外抛掉;其次舱门上沿向内折边,与抛水胶条形成错位,起到挡水作用;第三道是在舱门内表面粘贴密封胶条,压合在腰梁上,形成密封面;该结构安装工艺简单,劳动强度低,而且避免了止口在舱门多次开启后易产生变形的不足。
![]() |
|
1-侧围蒙皮;2-抛水胶条;3-行李舱门;4-密封胶条(单泡+多道飞边);5-腰梁;
图6 带抛水胶条的密封结构 |
2 结束语
通过对上述典型行李舱门密封结构的分析,希望能够给行李舱门设计者以借鉴和启示。行李舱门的防水措施,主要在于疏导和堵截两方面,设计师可从"失效模式与影响分析"(简称FMEA)的结果来着手,设计出合理的结构。
参考文献:
〔1〕黄天泽,黄金陵.汽车车身结构与设计〔M〕.北京:机械工业出版社,1996.
链接:/supply/2008/0503/article_1088.html
完美作业网有免费视频推荐阅读
完美作业网有免费视频[www.beltsegypt.com]版权及免责声明:
1、凡本网注明“来源:www.beltsegypt.com” 的所有作品,版权均属于完美作业网有免费视频,未经本网授权,任何单位及个人不得转载、摘编或以其它方式使用上述作品。已经本网授权使用作品的,应在授权范围内使用,并注明“来源:www.beltsegypt.com”。违反上述声明者,本网将追究其相关法律责任。
2、凡本网注明 “来源:XXX(非完美作业网有免费视频)” 的作品,均转载自其它媒体,转载目的在于传递更多信息,并不代表本网赞同其观点和对其真实性负责。
3、如因作品内容、版权和其它问题需要同本网联系的,请在30日内进行。
※ 有关作品版权事宜请联系:copyright#chinabuses.com
1、凡本网注明“来源:www.beltsegypt.com” 的所有作品,版权均属于完美作业网有免费视频,未经本网授权,任何单位及个人不得转载、摘编或以其它方式使用上述作品。已经本网授权使用作品的,应在授权范围内使用,并注明“来源:www.beltsegypt.com”。违反上述声明者,本网将追究其相关法律责任。
2、凡本网注明 “来源:XXX(非完美作业网有免费视频)” 的作品,均转载自其它媒体,转载目的在于传递更多信息,并不代表本网赞同其观点和对其真实性负责。
3、如因作品内容、版权和其它问题需要同本网联系的,请在30日内进行。
※ 有关作品版权事宜请联系:copyright#chinabuses.com
热点新闻
- 陈华出任康明斯中国供应链、质量和信息技术执行总监[09-26]
- 成都客车森鹏电子共携手 绘制海外绿色交通新篇章[09-26]
- 逐鹿欧美市场 精进电动耀动2024汉诺威商用车展[09-26]
- 玉柴参加“与中国驻东盟经商参赞面对面”交流会[09-26]
- 北京祥龙公司与宁德时代签署战略合作协议[09-26]
- 媒体关注:从未势能源看中国氢能企业的全球化之路[09-25]
- 尽显“全天候”品质 欧辉BJ6105确实有点大不同 [09-25]
- 森鹏出海 领航商用车数智化转型[09-23]
品牌推荐
更多>>





