工信部第353批新能源客车产品公告特点解读
众所周知,工信部的客车新品公告历来都是客车企业策划产品和市场定位的指南针。2022年2月11日,工业和信息化部在官方网站公示了申报第353批《道路机动车辆生产企业及产品公告》新产品,这是2022年新年以来工信部发布的第2个批次的汽车新品公告,也是今年春节以来发布的第1批公告。

据统计本期公告申报的汽车生产企业有584户、上榜汽车产品1232个,其中申报新能源汽车产品的共有96户企业的194个型号,包括纯电动产品共83户企业174个型号、插电式混合动力产品共3户企业5个型号、燃料电池产品共10户企业15个型号(含1款燃料电池乘用车、2款燃料电池客车和12款燃料电池专用车)。
值得注意的是,本批次公告涉及新能源客车32款新上榜的车型中,包括纯电动客车30款,燃料电池客车2款。
现对353批公告中新能源客车上榜的车型特点进行扼要解读:
特点一、纯电动客车占比超9成,且环比占比增加最多,其主体地位进一步增强;燃料电池占比其次,但环比占比减少最多
根据工信部第353批及352批公告统计数据,按技术路线划分,各车型上榜数量占比:

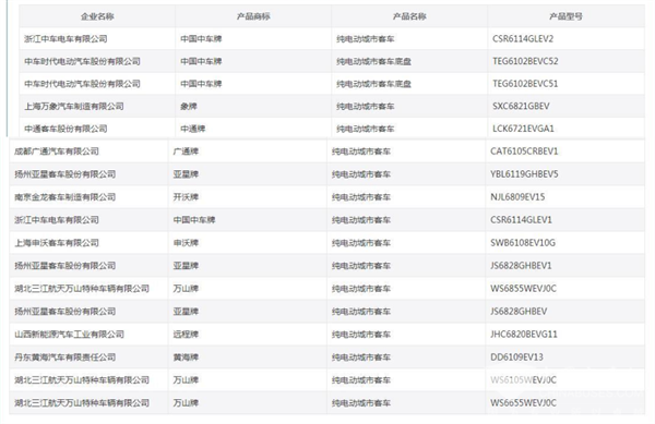
上表可见,在第353批公告中,按技术路线划分:
纯电动客车(含底盘4款)上榜车型30款,占比93.8%,占据绝对的主导地位,且占比环比增加2.9个百分点,是占比环比增加最多的车型;说明纯电动的主体地位在进一步增强;燃料电池客车上榜2款车型,分别为青岛美锦新能源汽车1款燃料电池城市客车和广西申龙汽车汽车公司的1款燃料电池城市客车(见下截图),占比6.2%,且占比环减少2.9个百分点,是占比环比减少最多的车型;

本批次公告中插电式混动客车没有上榜车型,说明插电式混动客车已经被市场“边缘化”了。
特点二、第353批次公告中,燃料电池客车占比环比下降,也是近来所有批次公告中上榜数量最少的,占比创新低
从近期工信部新能源客车新品公告看,燃料电池客车上榜 车型占比忽高忽低,波动较大,但本批次(第353批)公告中燃料电池客车占比居最高。
2021年以来341-353批新车公告中燃料电池客车上榜数量及占比:

上表说明,燃料电池客车在近期工信部发布的公告中,占比忽高忽低,波动较大,其中第351批占比为最高,而353批和第352批上榜的燃料电池车型数量均是最少的,占比均减低到10%以下(第352批占比为9.1%;第353批占比为6.2%,创近来新低),这主要可能与目前燃料电池客车具体补贴政策不明、车企心理没底有关。
特点三、第352批公告18个车企32款客车产品中,宇通客车上榜5款居第一
在第352批公告上榜的18个车企32款客车产品中 ,上榜的车型数量如下:

上表可见,在第353批公告上榜的前7家车企中,宇通客车上榜5款,位居第一;上海万象上榜4款,列第二;吉利商用车上榜3款,排第三;成都广通、中车电动、亚星客车均上榜2款,并列第四;TOP4(前7家车企)累计上榜20款车型,累计占比62.5%。
特点四、纯电动城市客车主体地位在减弱,纯电动公路客车地位加强——纯电动城市占比超5成,且环比占比减少最多,其次是纯电动客车占比16.7%,且占比环比增加最多,再次是纯电动客车底盘、纯电动城市客车底盘和低入口城市客车,占比均为6.7%,且占比环比均增加
根据第353批公告数据,按目标用途划分上榜的30纯电动客车车型类别结构占比及占比环比增减统计:

上表可见,在第353批新能源客车新品公告中,按目标用途对纯电动客车上榜产品细分,发现上榜最多的是纯电动城市客车,达到16款,占比超5成(53.3%),且占比环比减少21.7%,是占比环比减少最多的细分车型,可见纯电动城市客车不但占据了新能源客车的主体地位,但这种地位在减弱,说明纯电动城市客车依然是今后新能源客车的主打市场。

其次是纯电动公路客车上榜5款,占比16.7%,且占比环比增加最多(增加11.7个百分点),说明纯电动公路客车地位在加强;再次是纯电动客车底盘、纯电动城市客车底盘和低入口城市客车,占比均为6.7%,且占比环比均增加,分别增加的值为6.7%、1.7%和1.7%。
特点五、10-11米受青睐——从上榜的车型长度段看,10-11米占比53.1%,居第一、其次是8-9米占比31.3%,再次是11-12米和7-8米,占比均为6.3%,从各长度段车型占比环比增减看,10-11米占比环比增加最多,5-6米段占比环比减少最多
根据第353批上榜车型数据统计,各长度段上榜车型数量及占比:

上表可见,在第353批上榜的新能源客车产品车型中,10-11米占比53.1%,为最大;其次是8-9米占比31.3%;再次11-12米和7-8米,占比均为6.3%,第四是6-7米占比3.1%;而5-6米、9-10米和9-10米均占比为0%;
从占比环比增减看,10-11米段占比环比增加21.3%,是占比环比增加幅度最多的细分车型,说明10-11米段车型最受青睐;其次是7-8米占比环比增加6.3个百分点;再次是6-7米段占比环比增加3.1个百分点;其余长度段占比环比均下降,其中占比环比下降幅度最多的是5-6米段,其次是11-12米段。
总结:工信部的汽车新品公告历来都是车企进行产品布局策划的的风向标,希望对第353批新能源客车新品公告的特点分析能给客车企业在产品策划和定位方面可以带来一点启示。
- 10月大中轻客车:销4.96万辆!同比增环比降 轻客\中客分别领涨同环比
- 10月新能源客车出口:“银十”失约 比亚迪夺冠 宇通\金旅分列二三
- 第401批新能源客车:上榜50款,纯电动地位更强,插混领涨
- 10月新能源客车:“银十”成色十足!宇通霸榜,中车\金旅分列二三
- 10月客车出口:销5105辆 宇通夺冠 “三龙”紧跟 欧辉大涨
- 2025年10月国家及地方层面有关客车政策汇总及评析
- 10月大中客车:宇通霸榜 中车杀入前三 欧辉“双领涨”
- 2025年前三季度公路客车市场主要特点总结
- 前三季度农村客车:“金九”坐实,累销11.66万辆
- 2025年9月公路\公交\校车PK: 谁领涨?“黑马”是哪个?
- 2025年9月及前9月新能源客车产量及动力电池装机量简析
- 1-9月考斯特客车:“金九”弱现 累销1.24万辆 增1.1%
- 9月客车出口:乌兹别克斯坦\智利\巴基斯坦居纯电动前三
- 9月新能源座位客车:销1148辆!同环比“双增” 欧辉\金龙分列二三
- 宇通夺冠,申沃\吉利争第二!9月7米以上新能源公交客车销量排行出炉
- 9月新能源轻客:销3.55万辆 “金九”如约而至 远程夺冠 江铃领涨
- 2025年前三季度大中型新能源客车市场主要看点有哪些?
- 9月客车终端市场:中客电动化率最高 宇通\江铃分获大中客\轻客冠军
- 9月轻客:销4.36万辆!“金九”坐实 长安领跑 宇通领涨
- 9月大中轻客车:“金九”旺销 5.58万辆 轻客\大客分别领涨同环比
1、凡本网注明“来源:www.beltsegypt.com” 的所有作品,版权均属于完美作业网有免费视频,未经本网授权,任何单位及个人不得转载、摘编或以其它方式使用上述作品。已经本网授权使用作品的,应在授权范围内使用,并注明“来源:www.beltsegypt.com”。违反上述声明者,本网将追究其相关法律责任。
2、凡本网注明 “来源:XXX(非完美作业网有免费视频)” 的作品,均转载自其它媒体,转载目的在于传递更多信息,并不代表本网赞同其观点和对其真实性负责。
3、如因作品内容、版权和其它问题需要同本网联系的,请在30日内进行。
※ 有关作品版权事宜请联系:copyright#chinabuses.com
- 140辆金旅客车护航全运会 多维保障筑牢大湾区通勤防线[11-18]
- 广元昭化:首台“文明新风号”公交车正式上线[11-18]
- 丹东公交集团14台新能源公交车正式上线运营[11-18]
- 福州更新投放434辆纯电动公交车[11-18]
- 哈尔滨|新车上路 快线提速 智慧护航 公交升级暖民心[11-18]
- 山西盂县往返市区的首条“便民快巴”开通[11-18]
- 引领产业创新 中创新航入选全国二十强“百链千企”案例[11-18]
- 智利女驾驶员人才培养计划圆满结项 中通为当地再添新功[11-18]