工信部第298批新车公示,144款新能源客车入围
发布时间:2017年07月19日 17:15 来源:工信部
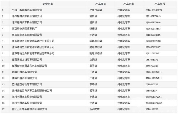
2017年7月17日,工信部发布《道路机动车辆生产企业及产品公告》(第298批)的车辆新产品公示。本次申报新能源汽车产品的共有51户企业的144个型号,其中纯电动产品共49户企业122个型号、插电式混合动力产品共9户企业22个型号。
纯电动城市客车:

纯电动客车:

插电式混合动力客车:

链接:/policy/2017/0719/article_79736.html
完美作业网有免费视频推荐阅读
完美作业网有免费视频[www.beltsegypt.com]版权及免责声明:
1、凡本网注明“来源:www.beltsegypt.com” 的所有作品,版权均属于完美作业网有免费视频,未经本网授权,任何单位及个人不得转载、摘编或以其它方式使用上述作品。已经本网授权使用作品的,应在授权范围内使用,并注明“来源:www.beltsegypt.com”。违反上述声明者,本网将追究其相关法律责任。
2、凡本网注明 “来源:XXX(非完美作业网有免费视频)” 的作品,均转载自其它媒体,转载目的在于传递更多信息,并不代表本网赞同其观点和对其真实性负责。
3、如因作品内容、版权和其它问题需要同本网联系的,请在30日内进行。
※ 有关作品版权事宜请联系:copyright#chinabuses.com
1、凡本网注明“来源:www.beltsegypt.com” 的所有作品,版权均属于完美作业网有免费视频,未经本网授权,任何单位及个人不得转载、摘编或以其它方式使用上述作品。已经本网授权使用作品的,应在授权范围内使用,并注明“来源:www.beltsegypt.com”。违反上述声明者,本网将追究其相关法律责任。
2、凡本网注明 “来源:XXX(非完美作业网有免费视频)” 的作品,均转载自其它媒体,转载目的在于传递更多信息,并不代表本网赞同其观点和对其真实性负责。
3、如因作品内容、版权和其它问题需要同本网联系的,请在30日内进行。
※ 有关作品版权事宜请联系:copyright#chinabuses.com
热点新闻
- 每辆补贴4.2-8万元!新能源城市公交及动力电池更新补贴标准出台[09-26]
- 交通运输部:全力做好2024年中秋国庆假期交通运输服务保障[09-13]
- 12城入围!交通部印发2024年城市公交优先发展和绿色出行典型案例[09-13]
- 交通运输部修订印发《汽车客运站安全生产规范》[09-12]
- 六部门组织开展2024年绿色出行宣传月和公交出行宣传周活动[09-06]
- 工信部等八部门:做好老旧新能源城市公交车辆动力电池更换工作[08-21]
- 行业观察|国务院审议通过《城市公共交通条例》将为行业带来哪些利好?[08-20]
- 政策解读|交通部印发《农村客货邮运营服务指南(试行)》的通知[08-16]
品牌推荐
更多>>