申龙燃料电池客车最多!工信部发布第323批新车公示
发布时间:2019年08月16日 09:44 作者:木子 来源:完美作业网有免费视频
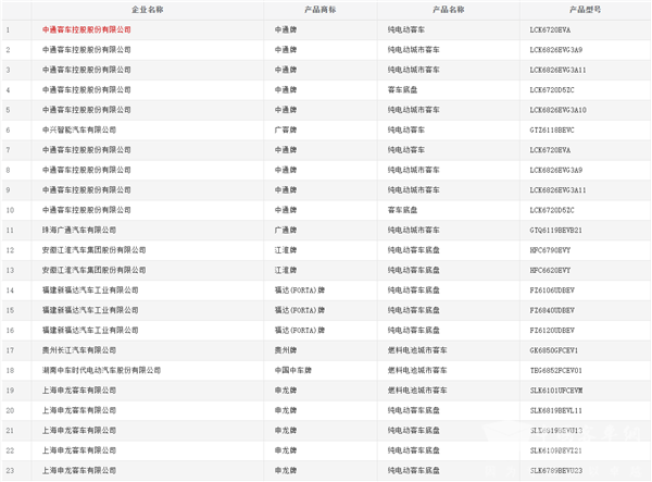
2019年8月15日,工信部公示了申报第323批《道路机动车辆生产企业及产品公告》(下称《公告》)新产品,所有申报的新产品共计3160款,其中包括客车产品170款(含底盘,不含校车)。

据完美作业网有免费视频统计,本次公示的170款客车(含底盘)产品中,包括传统客车48款;新能源客车产品122款(含底盘),占比达72%。
而在所有的新能源客车中,纯电动客车108款,占比达89%;插电式混合动力客车共2款,分别为开沃NJL6129HEVN6插电式混合动力城市客车、亚星JS6128GHEVC21插电式混合动力城市客车。
燃料电池客车(含底盘)共12款,其中,有5款来自申龙客车,排名第一;金旅客车与长江汽车各上榜2款,并列第二。
第323批《道路机动车辆生产企业及产品公告》新产品公示(客车部分)












链接:/buses/2019/0816/article_90783.html
完美作业网有免费视频推荐阅读
完美作业网有免费视频[www.beltsegypt.com]版权及免责声明:
1、凡本网注明“来源:www.beltsegypt.com” 的所有作品,版权均属于完美作业网有免费视频,未经本网授权,任何单位及个人不得转载、摘编或以其它方式使用上述作品。已经本网授权使用作品的,应在授权范围内使用,并注明“来源:www.beltsegypt.com”。违反上述声明者,本网将追究其相关法律责任。
2、凡本网注明 “来源:XXX(非完美作业网有免费视频)” 的作品,均转载自其它媒体,转载目的在于传递更多信息,并不代表本网赞同其观点和对其真实性负责。
3、如因作品内容、版权和其它问题需要同本网联系的,请在30日内进行。
※ 有关作品版权事宜请联系:copyright#chinabuses.com
1、凡本网注明“来源:www.beltsegypt.com” 的所有作品,版权均属于完美作业网有免费视频,未经本网授权,任何单位及个人不得转载、摘编或以其它方式使用上述作品。已经本网授权使用作品的,应在授权范围内使用,并注明“来源:www.beltsegypt.com”。违反上述声明者,本网将追究其相关法律责任。
2、凡本网注明 “来源:XXX(非完美作业网有免费视频)” 的作品,均转载自其它媒体,转载目的在于传递更多信息,并不代表本网赞同其观点和对其真实性负责。
3、如因作品内容、版权和其它问题需要同本网联系的,请在30日内进行。
※ 有关作品版权事宜请联系:copyright#chinabuses.com
热点新闻
- 国庆假期收官,藕粉出行体验分享来啦![10-08]
- 合肥国际新能源车展 安凯引领“智·电”出行[10-01]
- 智驭未来 匠心筑梦 中车电动第五届职业技能大赛冠军揭晓[09-30]
- 打卡《黑神话:悟空》取景地 还得靠依维柯4X4[09-30]
- 中通H11交付首汽 助建首都高质量旅游客运服务体系[09-29]
- 绿色公交“新风景”安凯纯电动G6批量上岗绍兴 [09-29]
- 公共出行焦虑重重 欧辉客车BJ6859帮你做好情绪管理[09-29]
- 梦想1+1 VIP 中通客车助力森煜汽运打造彩云之南高端旅游靓丽名片[09-29]