纯电动客车占比95% 工信部发布第320批道路机动车辆公告
发布时间:2019年05月23日 09:23 作者:木子 来源:完美作业网有免费视频 原创
2019年5月17日,工业和信息化部在官方网站公示了申报第320批《道路机动车辆生产企业及产品公告》(以下简称《公告》)新产品。申报本批《公告》新产品新能源汽车产品的共有114户企业的429个型号,其中纯电动产品共108户企业401个型号、插电式混合动力产品共13户企业25个型号、燃料电池产品共3户企业3个型号。

据完美作业网有免费视频统计,其中申报客车产品的共254款客车产品(含底盘),新能源客车产品206款(含底盘),占比达81%。包括纯电动客车196款,占比高达95%,较上一批新车公示的纯电动客车比例提高19个百分点。另外,第320批《公告》是自2019年以来所有批次中纯电动客车产品占比最高的批次。
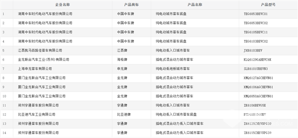
其中,插电式混合动力客车7款,燃料电池客车3款。具体来看,上榜的3款燃料电池客车产品中,分别来自厦门金龙、东风汽车集团、江苏陆地方舟三家企业。
值得注意的是,在本批新产品公示中,中车电动共上榜26款客车,其中18款新能源客车(含8款底盘),在本批公示的所有新能源客车中位居首位。申龙客车和东风牌新能源客车紧随其后,分别上榜19款和17款客车产品。
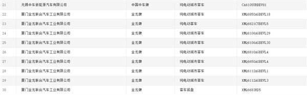
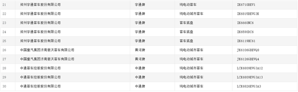
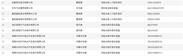
以下为:申报工业和信息化部《道路机动车辆生产企业及产品公告》(第320批)的车辆新产品公示(客车部分)

















链接:/buses/2019/0523/article_89438.html
完美作业网有免费视频推荐阅读
完美作业网有免费视频[www.beltsegypt.com]版权及免责声明:
1、凡本网注明“来源:www.beltsegypt.com” 的所有作品,版权均属于完美作业网有免费视频,未经本网授权,任何单位及个人不得转载、摘编或以其它方式使用上述作品。已经本网授权使用作品的,应在授权范围内使用,并注明“来源:www.beltsegypt.com”。违反上述声明者,本网将追究其相关法律责任。
2、凡本网注明 “来源:XXX(非完美作业网有免费视频)” 的作品,均转载自其它媒体,转载目的在于传递更多信息,并不代表本网赞同其观点和对其真实性负责。
3、如因作品内容、版权和其它问题需要同本网联系的,请在30日内进行。
※ 有关作品版权事宜请联系:copyright#chinabuses.com
1、凡本网注明“来源:www.beltsegypt.com” 的所有作品,版权均属于完美作业网有免费视频,未经本网授权,任何单位及个人不得转载、摘编或以其它方式使用上述作品。已经本网授权使用作品的,应在授权范围内使用,并注明“来源:www.beltsegypt.com”。违反上述声明者,本网将追究其相关法律责任。
2、凡本网注明 “来源:XXX(非完美作业网有免费视频)” 的作品,均转载自其它媒体,转载目的在于传递更多信息,并不代表本网赞同其观点和对其真实性负责。
3、如因作品内容、版权和其它问题需要同本网联系的,请在30日内进行。
※ 有关作品版权事宜请联系:copyright#chinabuses.com
热点新闻
- 国庆假期收官,藕粉出行体验分享来啦![10-08]
- 合肥国际新能源车展 安凯引领“智·电”出行[10-01]
- 智驭未来 匠心筑梦 中车电动第五届职业技能大赛冠军揭晓[09-30]
- 打卡《黑神话:悟空》取景地 还得靠依维柯4X4[09-30]
- 中通H11交付首汽 助建首都高质量旅游客运服务体系[09-29]
- 绿色公交“新风景”安凯纯电动G6批量上岗绍兴 [09-29]
- 公共出行焦虑重重 欧辉客车BJ6859帮你做好情绪管理[09-29]
- 梦想1+1 VIP 中通客车助力森煜汽运打造彩云之南高端旅游靓丽名片[09-29]
品牌推荐
更多>>