45款客车产品入工信部第317批新产品公示
发布时间:2019年02月20日 17:12 作者:欧文 来源:完美作业网有免费视频
2019年2月19日,工信部发布了第317批《道路机动车辆生产企业及产品公告》新产品公示。
据完美作业网有免费视频统计,本批公示公布共计1356个,其中汽车产品1062个、摩托车产品294个;申报新能源汽车产品的共有37户企业的101个型号,其中纯电动产品共36户企业100个型号、插电式混合动力产品共1户企业1个型号。
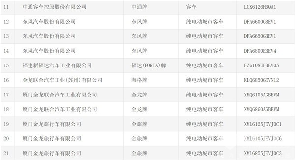
其中客车产品共45项,较之第316批公布的客车产品减少了37项。纯电动客车再次成为更新的热门产品共计31项,占比近七成;其他新能源类产品如插电式混合动力产品与燃料电池产品均未上榜。
从产品企业上看,宇通客车共有19款车型上榜,再次彰显了其作为行业领头羊的强大实力;东风汽车股份有限公司有六款产品榜上有名(包含三款底盘产品);其余上榜企业车型均不足5辆。
以下为关于客车部分的第317批《道路机动车辆生产企业及产品公告》新产品公示。
详细请点击:公示产品清单





链接:/buses/2019/0220/article_88022.html
完美作业网有免费视频推荐阅读
完美作业网有免费视频[www.beltsegypt.com]版权及免责声明:
1、凡本网注明“来源:www.beltsegypt.com” 的所有作品,版权均属于完美作业网有免费视频,未经本网授权,任何单位及个人不得转载、摘编或以其它方式使用上述作品。已经本网授权使用作品的,应在授权范围内使用,并注明“来源:www.beltsegypt.com”。违反上述声明者,本网将追究其相关法律责任。
2、凡本网注明 “来源:XXX(非完美作业网有免费视频)” 的作品,均转载自其它媒体,转载目的在于传递更多信息,并不代表本网赞同其观点和对其真实性负责。
3、如因作品内容、版权和其它问题需要同本网联系的,请在30日内进行。
※ 有关作品版权事宜请联系:copyright#chinabuses.com
1、凡本网注明“来源:www.beltsegypt.com” 的所有作品,版权均属于完美作业网有免费视频,未经本网授权,任何单位及个人不得转载、摘编或以其它方式使用上述作品。已经本网授权使用作品的,应在授权范围内使用,并注明“来源:www.beltsegypt.com”。违反上述声明者,本网将追究其相关法律责任。
2、凡本网注明 “来源:XXX(非完美作业网有免费视频)” 的作品,均转载自其它媒体,转载目的在于传递更多信息,并不代表本网赞同其观点和对其真实性负责。
3、如因作品内容、版权和其它问题需要同本网联系的,请在30日内进行。
※ 有关作品版权事宜请联系:copyright#chinabuses.com
热点新闻
- 国庆假期收官,藕粉出行体验分享来啦![10-08]
- 合肥国际新能源车展 安凯引领“智·电”出行[10-01]
- 智驭未来 匠心筑梦 中车电动第五届职业技能大赛冠军揭晓[09-30]
- 打卡《黑神话:悟空》取景地 还得靠依维柯4X4[09-30]
- 中通H11交付首汽 助建首都高质量旅游客运服务体系[09-29]
- 绿色公交“新风景”安凯纯电动G6批量上岗绍兴 [09-29]
- 公共出行焦虑重重 欧辉客车BJ6859帮你做好情绪管理[09-29]
- 梦想1+1 VIP 中通客车助力森煜汽运打造彩云之南高端旅游靓丽名片[09-29]
品牌推荐
更多>>